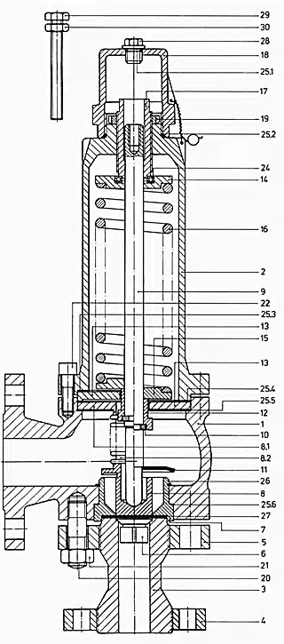
| Benennung | Teil |
| Ausblasegehäuse | 1 |
| Heizmantel am Gehäuse | 1.1 |
| Federturm | 2 |
| Ventilsitz | 3 |
| Heizmantel am Sitz | 3.1 |
| Eintrittsflansch | 4 |
| Sitzflansch | 5 |
| Kegel | 6 |
| Führung | 7 |
| Kolben | 8 |
| Deckel | 8.1 |
| Balg | 8.2 |
| Druckstange | 9 |
| Ring, 2teilig | 10 |
| Hubhilfe | 11 |
| Anschlagbuchse | 12 |
| Anschlagplatte | 13 |
| Oberer Federteiler | 14 |
| Unterer Federteiler | 15 |
| Feder | 16 |
| Druckschraube | 17 |
| Kappe | 16 |
| Wellenmutter | 19 |
| Stiftschraube | 20 |
| Sechskantmutter | 21 |
| Innensechskantschraube | 22 |
| Sechskantschraube | 23 |
| Axial-Rillenkugellager | 24 |
| Dichtung | 25.1 |
| O-Ring | 25.2 |
| Dichtung | 25.3 |
| Dichtung | 25.4 |
| Dichtung | 25.5 |
| Dichtung | 25.6 |
| Dichtung | 25.7 |
| Sicherungsring | 26 |
| Folie | 27 |
| Verschlussschraube | 28 |
| Halteschraube | 29 |
| Sechskantmutter | 30 |
| Induktive Ansprechkontrolle | 31 |
| Zwischenlaterne | 32 |
Folie einlegen / Folie wechseln
Entfernen Sie die Verschlussschraube (28). Schrauben Sie die Halteschraube (29) mit der Mutter (30) durch die Kappe (18) in die Druckstange (9) ein und ziehen Sie die Mutter von hand an. Lösen und entfernen Sie die Schraube (21) vom Gehäuseunterteil. Entnehmen Sie den Sitz (3) und Kegel (6) aus dem Gehäuseunterteil. Achten Sie darauf, dass der Kegel dabei nicht aus dem Ventilsitz fällt.
Die Plombe bleibt unberührt.
VORSICHT!
Nehmen Sie den Folieneinbau oder den Folienwechsel nach Möglichkeit nur am liegenden Ventil vor.
Entfernen Sie die alte Folie sorgfältig. Die Flächen, zwischen denen die Folie eingespannt ist, müssen vollkommen sauber und frei von Beschädigungen sein. Legen Sie die neue Folie in das Ventil ein. Setzen Sie Sitz (3) und Kegel (6) vorsichtig (damit die Folie nicht beschädigt wird) ein. Fixieren Sie die Muttern (21) von Hand. Ziehen Sie die Muttern mit den nachstehend angegebenen Anzugsdrehmomenten kreuzweise so lange mit 1/4 Umdrehung an, bis die Folie fest und gleichmäßig eingespannt ist. Entfernen Sie die Halteschraube (29) aus der Kappe und setzen Sie die Verschlussschraube (28) ein.